Т-131МС Клапан предохранительный прямого действия
Клапан предохранительный Т-131МС прямого действия предназначен для защиты трубопроводов, паровых котлов и промышленного оборудования от превышения давления рабочей среды сверх допустимого уровня. При повышении давления выше установленного значения клапан автоматически открывается, сбрасывает избыточный пар и предотвращает аварийные ситуации. После снижения давления до рабочего уровня клапан закрывается.
Модель Т-131МС рассчитана на работу при высоком давлении до 10 МПа и температуре до 450 °C, что делает её надёжным решением для энергоблоков, котельных и других систем, работающих в тяжёлых термических и механических условиях.
Варианты исполнения
- Ду 50 Ру 100
по запросу
Документы
Технические характеристики
- Давление (Ру):
- 100
- Присоединение к трубопроводу:
- цапковое; фланцевое
- Установочное положение:
- вертикально в наиболее высокой части
- Рабочий ход клапана:
- 12 ± 3 мм
- Площадь проходного сечения (F):
- 18,1 см²
- Диапазон настройки клапана (Рн):
- 3,5–4,5 МПа
- Коэффициент расхода (μ):
- не менее 0,65
- Диаметр входа/выхода:
- 50/100 мм
Рабочая среда
Рабочая среда: пар
- Температура рабочей среды: до плюс 450 градусов Цельсия;
- Минимальная температура окружающей среды: от минус 40 градусов Цельсия;
Материалы
- Корпус:
- сталь 20
Схемы
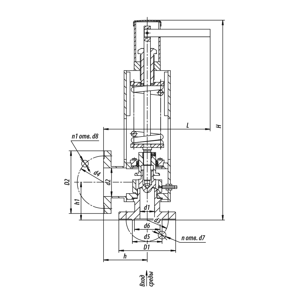
Габаритные размеры
| Название | L | H | Масса |
|---|---|---|---|
| Ду 50 Ру 100 | 366.0 | 686.0 | 48 |
Описание
Условия эксплуатации:
- Климатическое исполнение: У, УХЛ, ХЛ, Т (по ГОСТ 15150-69)
- Категория размещения: 2, 3 (по ГОСТ 15150-69)
- Конструкция рассчитана на нагрузку от собственной массы и реактивных усилий при срабатывании клапана.
