Т-132МС Клапан предохранительный прямого действия
Клапан предохранительный Т-132МС прямого действия предназначен для автоматической защиты трубопроводных систем, котлов, тепловых и энергетических установок от превышения давления рабочей среды выше установленного предела. При достижении критического значения клапан открывается и сбрасывает избыточный пар, предотвращая разрушение элементов системы. После стабилизации давления клапан закрывается.
Благодаря высокой температуростойкости (до 450 °C) и способности работать под давлением до 10,0 МПа, эта модель применяется в паровых котлах высокого давления, энергоустановках и промышленном оборудовании, работающем в тяжёлых условиях эксплуатации.
Варианты исполнения
- Ду 80 Ру 100
по запросу
Документы
Технические характеристики
- Давление (Ру):
- 100
- Присоединение к трубопроводу:
- цапковое; фланцевое
- Установочное положение:
- вертикально в наиболее высокой части защищаемого объекта
- Рабочий ход клапана:
- 15 ± 3 мм
- Площадь проходного сечения (F):
- 30,2 см²
- Диапазон настройки клапана (Рн):
- 3,5–4,5 МПа
- Коэффициент расхода (μ):
- не менее 0,65
- Диаметр входа/выхода:
- 80/150 мм
Рабочая среда
Рабочая среда: пар
- Температура рабочей среды: до плюс 450 градусов Цельсия;
- Минимальная температура окружающей среды: от минус 40 градусов Цельсия;
Материалы
- Корпус:
- сталь 20
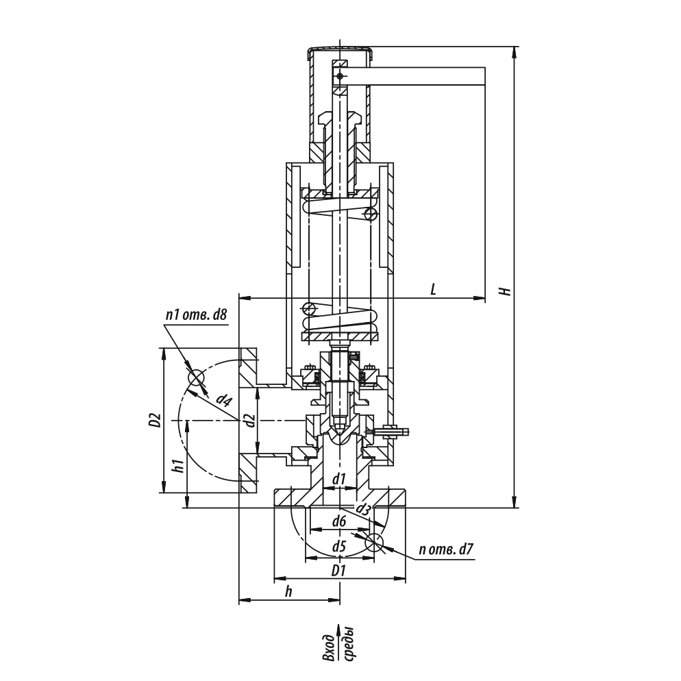
Схемы
Габаритные размеры
| Название | L | H | Масса |
|---|---|---|---|
| Ду 80 Ру 100 | 416.0 | 740.0 | 76 |
Описание
Условия эксплуатации:
- Климатическое исполнение: У, УХЛ, ХЛ, Т (по ГОСТ 15150-69)
- Категория размещения: 2, 3 (по ГОСТ 15150-69)
- Конструкция рассчитана на значительные механические нагрузки и реактивные усилия при срабатывании.
