Т-31МС-2 Клапан предохранительный прямого действия
Клапан предохранительный Т-31МС-2 прямого действия предназначен для автоматической защиты трубопроводов, котлов и другого оборудования от превышения давления рабочей среды сверх допустимого значения. При достижении предельного давления клапан открывается и сбрасывает часть пара, предотвращая повреждения оборудования. После снижения давления до рабочего уровня клапан автоматически закрывается.
Изделие рассчитано на работу при высоком давлении (до 6,3 МПа) и температуре до 425 °C. Отличается надёжной конструкцией, простотой обслуживания и устойчивостью к длительным термическим и механическим нагрузкам.
Варианты исполнения
- Ду 50 Ру 63
по запросу
Документы
Технические характеристики
- Давление (Ру):
- 63
- Присоединение к трубопроводу:
- цапковое; фланцевое
- Установочное положение:
- вертикальное, в верхней части защищаемого объекта
- Рабочий ход клапана:
- 12 ± 3 мм
- Площадь проходного сечения (F):
- 18,1 см²
- Диапазон настройки клапана (Рн):
- 1,8–2,8 МПа
- Коэффициент расхода (μ):
- не менее 0,65
- Диаметр входа/выхода:
- 50/100 мм
Рабочая среда
Рабочая среда: пар
- Температура рабочей среды: до плюс 425 градусов Цельсия;
- Минимальная температура окружающей среды: от минус 40 градусов Цельсия;
Материалы
- Корпус:
- сталь 20
Схемы
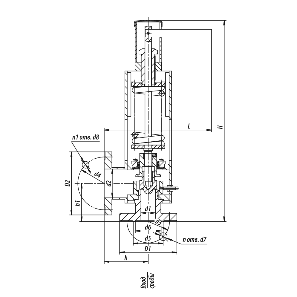
Габаритные размеры
| Название | L | H | Масса |
|---|---|---|---|
| Ду 50 Ру 63 | 366.0 | 686.0 | 47 |
Описание
Условия эксплуатации:
- Климатическое исполнение: У, УХЛ, ХЛ, Т (по ГОСТ 15150-69)
- Категория размещения: 2, 3 (по ГОСТ 15150-69)
- Клапан рассчитан на нагрузки от собственной массы и реактивных усилий, возникающих при срабатывании.
