Т-31МС-3 Клапан предохранительный прямого действия
Предохранительный клапан Т-31МС-3 прямого действия используется для защиты трубопроводных систем и оборудования от превышения давления сверх допустимого уровня. При росте давления рабочей среды клапан автоматически открывается и сбрасывает избыток пара, предотвращая аварийные ситуации. После нормализации давления клапан закрывается, возвращаясь в рабочее положение.
Благодаря усиленной конструкции, устойчивости к высоким температурам до 425 °C и рабочему давлению до 6,3 МПа, данная модель эффективно применяется в паровых котлах, тепловых энергоустановках и промышленном оборудовании с высокими нагрузками.
Варианты исполнения
- Ду 50 Ру 63
по запросу
Документы
Технические характеристики
- Давление (Ру):
- 63
- Присоединение к трубопроводу:
- цапковое; фланцевое
- Установочное положение:
- вертикально в наиболее высокой части
- Рабочий ход клапана:
- 12 ± 3 мм
- Площадь проходного сечения (F):
- 18,1 см²
- Диапазон настройки клапана (Рн):
- 0,7–1,5 МПа
- Коэффициент расхода (μ):
- не менее 0,65
- Диаметр входа/выхода:
- 50/100 мм
Рабочая среда
Рабочая среда: пар
- Температура рабочей среды: до плюс 425 градусов Цельсия;
- Минимальная температура окружающей среды: от минус 40 градусов Цельсия;
Материалы
- Корпус:
- сталь 20
Схемы
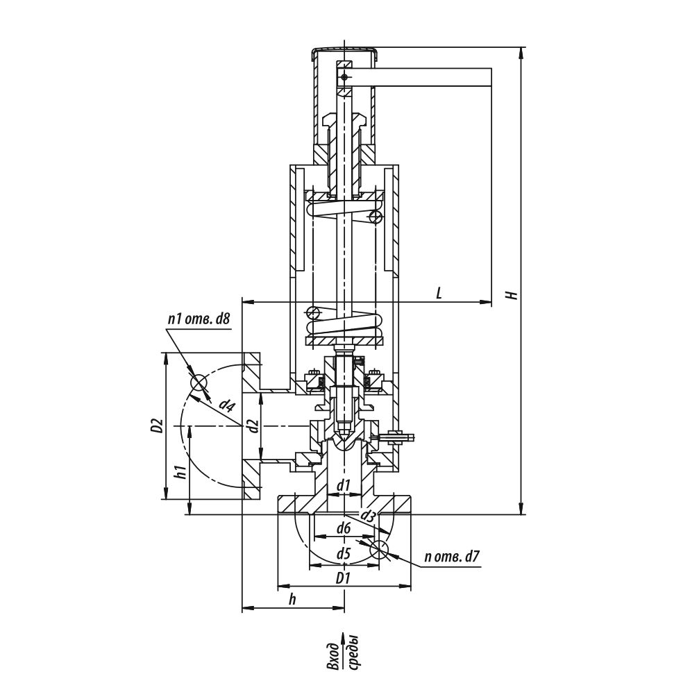
Габаритные размеры
| Название | L | H | Масса |
|---|---|---|---|
| Ду 50 Ру 63 | 366.0 | 686.0 | 44 |
Описание
Условия эксплуатации:
- Климатическое исполнение: У, УХЛ, ХЛ, Т (по ГОСТ 15150-69)
- Категория размещения: 2, 3 (по ГОСТ 15150-69)
- Клапан рассчитан на реактивные усилия и нагрузки, возникающие при срабатывании.
