Т-32МС-2 Клапан предохранительный прямого действия
Клапан предохранительный Т-32МС-2 прямого действия применяется для защиты оборудования и трубопроводных систем от превышения давления рабочей среды. При повышении давления пар автоматически сбрасывается через открывшийся клапан, предотвращая повреждение оборудования. После снижения давления до рабочего уровня клапан возвращается в закрытое состояние.
Благодаря высокой стойкости к температуре до 425 °C и давлению до 6,3 МПа, изделие используется в паровых котлах, энергетических установках и промышленном теплотехническом оборудовании, работающем под высокими нагрузками.
Варианты исполнения
- Ду 80 Ру 63
по запросу
Документы
Технические характеристики
- Давление (Ру):
- 63
- Присоединение к трубопроводу:
- цапковое; фланцевое
- Установочное положение:
- вертикально в наиболее высокой части защищаемого объекта
- Рабочий ход клапана:
- 15 ± 3 мм
- Площадь проходного сечения (F):
- 30,2 см²
- Диапазон настройки клапана (Рн):
- 1,8–2,8 МПа
- Коэффициент расхода (μ):
- не менее 0,65
- Диаметр входа/выхода:
- 80/150 мм
Рабочая среда
Рабочая среда: пар
- Температура рабочей среды: до плюс 425 градусов Цельсия;
- Минимальная температура окружающей среды: от минус 40 градусов Цельсия;
Материалы
- Корпус:
- сталь 20
Схемы
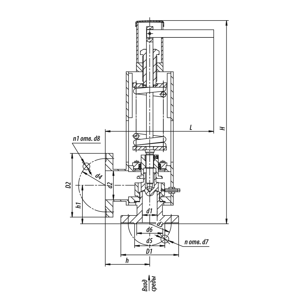
Габаритные размеры
| Название | L | H | Масса |
|---|---|---|---|
| Ду 80 Ру 63 | 416.0 | 740.0 | 76 |
Описание
Условия эксплуатации:
- Климатическое исполнение: У, УХЛ, ХЛ, Т (по ГОСТ 15150-69)
- Категория размещения: 2, 3 (по ГОСТ 15150-69)
- Конструкция рассчитана на нагрузки от собственной массы и реактивных усилий при срабатывании клапана.
